Обозначение шпоночного паза на чертеже гост
Шпонка и шпоночное соединение
Шпоночное соединение – разновидность соединения, состоящего из шпонки на валу и ступицы. Шпонкой называется деталь, которая соединяет узлы путем установки в пазы. Основной ее функцией является передача вращающего момента между узлами. Существует определенная стандартизация их разновидностей. Шпонка имеет специальные пазы, вырезанные путем фрезерования.

Применение
Основным применением шпоночных соединений является монтаж на вал с помощью пазового соединения. В большинстве своем шпоночный паз напоминает клин. Такой тип соединения деталей позволяет валу и ступице не проворачиваться относительно оси друг друга. Фиксированное положение ступицы к валу со шпонкой позволяет добиться высокого КПД при передаче усилия.
Наиболее часто шпоночное соединение можно встретить в машиностроении, при строительстве станков. Часто она используется при производстве автомобилей и других механизмов, где требуется повышенная надежность фиксации деталей машин. Высокая надежность достигается благодаря функции предохранительного узла вала со шпоночным пазом.
Шпонка выступает предохранителем в случаях превышения максимального уровня крутящего момента. В подобных случаях происходит срез шпонки, поглощая чрезмерную нагрузку она снимает ее из вала и ступицы.
Благодаря своим свойствам она стала широко распространенной в машиностроении, она отличается высокой эффективностью, простотой изготовления и монтажа, а также низкой стоимостью. Подобные характеристики особо важны в промышленном производстве, особенно в сельском хозяйстве. В разгар сезона часто возникают случаи поломок отдельных узлов, которые нужно заменить максимально быстро. Чаще всего можно встретить в узлах пресс-подборщиков.

Учитывая все вышесказанное, выделяются основные позиции, для чего нужна шпонка:
- Обеспечение безопасность соединяемых узлов при повышенных нагрузках.
- Достижение высокой степени фиксации отдельных элементов механического узла.
- Выполняет функцию предупреждения проворачивания узла и ступицы.
- Надежность подобного соединения превышает надежность аналогов при фиксации вала с деталями.
В общем, встретить шпоночное соединение можно практически в любом сложном механизме, что обусловлено его техническими характеристиками.
Виды шпонок
Основные виды шпонок делят на два типа: напряженные и ненапряженные. Среди которых выделяются такие типы шпонок:
-
- Клиновые. Особый тип, который отличаются углом наклона верхней грани. В общем разделение на виды происходит исходя из классификации шпоночных соединений. Устанавливается в паз с помощью физической силы, ударным методом. Применение такого типа соединения позволяет добиться необходимого напряжения. Нарезанный клин, находясь в пазе, распирает его изнутри. За счет силы прижатия, вал и ступица совместно вращаются.Используется довольно редко, так как ее использование предусматривает индивидуальный подгон. Это можно считать недостатком для массового производства механизмов. Основное назначение — применение в тихоходных передачах и узлах неподвижного соединения.
Среди клиновых шпонок выделяют:
- врезные;
- на лыске;
- фрикционные;
- без головки и с головкой.
- Сегментные. Производятся в виде сегментной пластины, загоняемой в паз. Производиться методом фрезерования. Широко применяются в производстве, так как просты в изготовлении, не требуют особой точности при нарезании и легко устанавливается. Отличается установкой в боле глубокий паз, в сравнении с аналогами. Глубокий паз не подходит для больших нагрузок, так как значительно снижает прочность вала, поэтому используется при небольших крутящих моментов.
На длинных ступицах может устанавливаться несколько шпонок, так как они имеют фиксированную длину. Выполняют предохранительную функцию на срез и смятие. - Призматические. Отличаются параллельными гранями, которые устанавливаются в паз и фиксируют ступицу. Рабочими гранями в таки случаях являются боковые. Относятся к ненапряженному типу шпоночных соединений, поэтому существует вероятность возникновения коррозии в месте соединения. Для исключения коррозии, муфта и вал соединяются с натягом. Концы производятся обычно со скругленными или плоскими концами. Для скругленного типа рабочей поверхностью считается длина прямых краев. Паз нарезается с помощью фрезы.Передача усилия происходит путем давления поверхности паза на шпонку, которая передает крутящий момент на паз ступицы. Данный тип соединения призматической шпонкой часто используется для подвижных соединений, поэтому используют дополнительное крепление с помощью винтов. Как и многие другие типы выполняет функцию предохранителя при смятии и срезе.
- Цилиндрические. Штифты в таких шпонках изготавливаются в виде цилиндров. Работаю в натяжении с отверстием на торце вала, которое высверливается под соответствующие размеры шпонок. Используется в тех случаях, когда ступица устанавливается на конце вала. Требует особого подхода к монтажу шпоночных соединений.Позволяют работать на срез и смятие. Поэтому выбор шпонки производят исходя из прочности на смятие.
- Клиновые. Особый тип, который отличаются углом наклона верхней грани. В общем разделение на виды происходит исходя из классификации шпоночных соединений. Устанавливается в паз с помощью физической силы, ударным методом. Применение такого типа соединения позволяет добиться необходимого напряжения. Нарезанный клин, находясь в пазе, распирает его изнутри. За счет силы прижатия, вал и ступица совместно вращаются.Используется довольно редко, так как ее использование предусматривает индивидуальный подгон. Это можно считать недостатком для массового производства механизмов. Основное назначение — применение в тихоходных передачах и узлах неподвижного соединения.
Исходя из типа посадки выделяются:
- Свободная – применяется в случаях, когда выполнять сварочные работы довольно сложно и есть необходимость подвижного сцепления деталей во время работы.
- Плотная – нужна для создания сцеплений, движение которых во время работы выполняется в одном пространственном положении.
Обозначения на чертежах
На чертежах обозначение призматических шпонок происходит исходя из нормативного документа ГОСТ. Они делятся на шпоночные пазы: высокие, нормальной высоты и направляющие. Рабочими гранями у них являются боковые.
На сборочном чертеже обозначение выполняется с учетом диаметра вала, крутящего момента, сечения и длины.
Шпонка 3–20Х12Х120 ГОСТ 23360-78;
Где 3 – исполнение, 20Х12 – сечение, 120 – длина.
Скачать ГОСТ 23360-78
Обозначение остальных типов шпонок на изображениях выполняется таким же образом, исходя из соответствующих ГОСТов, разработанных для каждой отдельной модели.
Указанное обозначение должно четко характеризировать деталь, что очень важно для получения надежного соединение. Ведь даже малейший зазор может стать причиной быстрого износа рабочих узлов и потери эффективности во время работы.

Достоинства и недостатки
Как и любой тип соединений, шпоночные имеют ряд достоинств и недостатков. К достоинствам шпоночных соединений можно отнести простоту большинства типов шпонки. При этом монтаж и замена такой детали выполняется легко и быстро. Благодаря чему они получили широкое применение в машиностроении. Также обеспечивает функцию предохранения.
К недостаткам относиться ослабление ступицы и вала. Оно возникает исходя из повышенного напряжения и уменьшения поперечного сечения. Также ослабление деталей вызвано из-за нарезанного паза, который снижает осевую прочность вала.
Чтобы минимизировать недостатки, нужно добиться отсутствия перекоса шпонки в пазе. Для этого нужно обеспечить отсутствие зазора, что делается путем индивидуального изготовления и подгона шпонки. Из-за этого в крупносерийном производстве редко применяют любые разновидности шпоночных соединений. Если добиться отсутствия перекоса не удалось, площадь рабочего контакта уменьшается, в следствие чего степень максимальной нагрузки уменьшается.
Также наличие зазора вызывает эффект биения, особенно на высоких скоростях. Это приведет к быстрому износу рабочих деталей. Из-за этого подобное соединение редко применяется для быстровращающихся валов. Для подбора подходящей шпонки лучше использовать таблицу шпоночных соединений.
Материал шпонок
Для изготовления шпоночного соединения применяют калибровочный металлопрокат. Чаще всего используется сталь марки 45. Она относиться к углеродистым сталям обычного типа, которая часто применяется для производства деталей высокой прочности. Сталь используется в виде бруска длиной 1 м.
В некоторых случаях может применять углеродистая сталь марки 50. Она необходима, когда требуется повышенные прочностные свойства полученных шпонок. Реже применяются легированные стали, например, марки 40х, для которой характерен высокий показатель твердости, достигаемый путем термической обработки.
Скачать ГОСТ 8787-68
Стальные заготовки обрабатываются с помощью фрезы, сверлильных станков, станков для рубки, шлифовальных машин и других инструментов. Используемые станки имеют блок управление, который позволяет с помощью числовых программ изготовить деталь необходимых параметров.
Цена полученной шпонки довольно низка, поэтому приобрести необходимую деталь довольно легко. Но в некоторых случаях, когда есть необходимость срочного получения шпонки, изготовить ее можно самостоятельно. Чаще всего подобная необходимость возникает в сельском хозяйстве, где во время сезонных работ часто возникают поломки, которые нужно отстранить. При этом ближайшие точки продажи необходимых деталей находиться на расстоянии в несколько десятков километров.
Имея небольшое количеству инструмента под рукой и заготовку из соответствующего материала, можно быстро изготовить временную замену. При соблюдении технических характеристик, полученная деталь сможет полноценно заменить заводскую, но лучше всего при первой возможности приобрести шпонку нужной прочности и геометрических параметров. Это необходимо для избежание преждевременного износа механизмов.
Иногда для производства могут использовать другие материалы, например, пластик высокого качества. В качестве материала может использоваться дерево, чаще всего при изготовлении мебели.
В качестве материала лучше использовать разные породы дерева, для шпонки подойдет более мягкий материал чем основной. Это позволит обезопасить основную конструкцию от повреждений в случае повышенной нагрузки. Легче заменить шпонку чем большой конструкционный узел.

Для предотвращения проникания влаги в железобетонные конструкции используются специальные шпонки – ватерстоп. Изготавливают их из резины высокого качества и ПВХ. Это позволяет добиться необходимой степени водонепроницаемости и стойкости к растворам агрессивных химических веществ.
Заключение
Такой тип соединения отличается простотой и достаточно высокой надежностью, из-за чего получил высокую популярность в промышленности. Разнообразие видов позволяет подобрать оптимальный тип соединения, что позволит добиться высокой эффективности, надежности готовой конструкции и страховку узлов от повреждений при повышении допустимых нагрузок. Подобрав шпонку исходя из соответствующих ГОСТов, можно добиться высокой эффективности работы соединения.
На сегодняшний день можно легко подобрать необходимую деталь, что позволяет быстро сделать монтаж и замену в случае необходимости.
Если вы нашли ошибку, пожалуйста, выделите фрагмент текста и нажмите Ctrl+Enter.
Шпоночный паз: размеры по ГОСТ
Как средство для передачи вращения шпонка используется повсеместно. На первый взгляд здесь нет ничего сложного: вырезал шпоночный паз, вставили, узел готов. Почему шпоночное соединение, несмотря на довольно устаревшую технологию, не потеряло своей актуальности?

Шпоночные соединения
Шпонка представляет собой некую деталь, являющуюся промежуточным звеном для передачи вращательного момента вала ступице. Данный процесс осуществляется за счет образования напряжения смятия шпоночных пазов. Именно по этой причине шпоночные соединения относят к группе жесткого способа передачи вращения.
В большинстве случаев шпонками пользуются в низко нагруженных изделиях. Преимущественно для деталей мелкой серии. Происходит это из-за малой несущей нагрузки шпонок, причина которой кроется в наличии следующих недостатков:
- Шпоночные пазы уменьшают поперечную площадь вала, что отрицательно влияет на его прочностные характеристики. Особенно это имеет сильный эффект на пустотелых валах с отношением внутреннего и наружного радиусов 0,6. Изготовление шпоночных пазов в таких условиях является неприемлемым.
- Форма паза отличается резкими переходами, что служит причиной образования концентраторов напряжения. Все это заметно снижает устойчивость соединения к циклическим нагрузкам.
- Достаточно низкая технологичность.
Несмотря на все вышеуказанные недочеты шпонки все равно активно применяются в отраслях машиностроения из-за упрощенной конструкции и низкой стоимости. Но на массовом и крупносерийном производстве высоко ответственных деталей шпонки уступили более совершенным во всех планах шлицевым соединениям.
Виды шпонок
Современное производство предоставляет свыше 20 наименований разного рода.. Но среди них выделяют следующие наиболее применяемые типы в машиностроении:
- Клиновые — используются на концевых установках и являются разновидностью забивных шпонок. Такое шпоночное соединение применяют при диаметре вала от 100 мм. В настоящее время встречаются крайне редко. Причина этого кроется в высокой вероятности перетяжки узла и смещении соосности ступицы и вала под воздействием одностороннего усилия. А также затрудненное извлечение шпонок.
- Призматические. Размеры паза регулируются ГОСТ 23360-78. Они наиболее востребованы в промышленности из-за оптимального соотношения прочности и технологичности. Существует две их разновидности: врезные и закладные. Врезные шпонки устанавливаются с натягом, а закладные с небольшим зазором.
- Направляющие шпонки. От призматических их отличает наличие отверстий под крепеж на валу. Помимо передачи вращения они служат элементом для направления деталей.
- Сегментные шпонки выделяются среди остальных повышенной технологичностью вырезания пазов. Пазы изготавливают с помощью дисковых фрез, что обеспечивает им большее значение точности и производительности. Крепеж шпонок на валах также отличается более высокой устойчивостью из-за более глубокого врезания в их поверхность. Однако одновременно все эти достоинства являются причиной существенного ослабления вала. Это обстоятельство наряду с небольшой длиной паза приводит к появлению повышенных напряжений, которые и ограничивают использование шпонок малонагруженными изделиями.
Стоит отметить, что шпоночные пазы изготавливаются методом фрезерования, долбления протяжки. Наиболее распространено их получение пальчиковой фрезой, поскольку этот способ обеспечивает относительно благоприятное распределение напряжение и приемлемую технологичность.
Материал
Для шпонок наиболее подходят стали с содержанием углерода свыше 0,4%. Именно такой состав обеспечивает необходимое значение износостойкости, прочности и твердости. Сюда относятся конструкционные стали марок 45 и 50, а также сталь обыкновенного качества Ст.6.
Применение более дорогих аналогов стальных сплавов не имеет смысла, поскольку повышенная жесткость шпонки увеличивает вероятности пазов валов и ступицы. Для улучшения условий передачи вращения куда выгодней воспользоваться другими более оптимальными.
Маркировка
Обозначение шпоночного крепления вала на ступице покажем на примерах. Шпонка призматическая с шириной 18 мм, высотой 11 мм и длиной 50 мм маркируется:
Шпонка 18х11х50 ГОСТ 8789-68
Стоит заметить, что посадочные размеры пазов отличаются. Их значения находятся в соответствующих стандартах шпоночных соединений.

Таблица 1. Размеры и предельные отклонения призматических шпонок и шпоночных пазов по ГОСТ 23360-78.
ГОСТ 24071-97 Основные нормы взаимозаменяемости. Сегментные шпонки и шпоночные пазы
ГОСТ 24071-97
(ИСО 3912-77)
Основные нормы взаимозаменяемости
СЕГМЕНТНЫЕ ШПОНКИ
И ШПОНОЧНЫЕ ПАЗЫ
МЕЖГОСУДАРСТВЕННЫЙ СОВЕТ
ПО СТАНДАРТИЗАЦИИ, МЕТРОЛОГИИ И СЕРТИФИКАЦИИ
1 РАЗРАБОТАН Техническим комитетом ТК 258 «Зубчатые передачи и конструктивные элементы деталей машин»
ВНЕСЕН Госстандартом России
2 ПРИНЯТ Межгосударственным Советом по стандартизации, метрологии и сертификации (протокол № 12-97 от 21 ноября 1997 г.)
За принятие проголосовали:
Наименование национального органа по стандартизации
Госстандарт Республики Казахстан
3 Настоящий стандарт представляет собой полный аутентичный текст ИСО 3912-77 «Сегментные шпонки и шпоночные пазы» и содержит дополнительные требования, отражающие потребности экономики страны
4 Постановлением Государственного комитета Российской Федерации по стандартизации и метрологии от 17 ноября 1999 г. № 409-ст межгосударственный стандарт ГОСТ 24071-97 (ИСО 3912-77) введен в действие непосредственно в качестве государственного стандарта Российской Федерации с 1 июля 2000 г.
5 ВЗАМЕН ГОСТ 24071-80
1 Назначение . 2
2 Область применения . 2
3 Размеры и допуски шпонок . 2
5 Форма, размеры и допуски шпоночных пазов . 3
6 Зависимость между диаметром вала и размерами шпонки . 4
7 Обозначение . 4
Приложение А. Дополнительные требования, отражающие потребности экономики страны .. 5
Приложение Б. Теоретическая масса 1000 шпонок нормальной формы .. 5
Приложение В. Предельные отклонения размеров шпоночных соединений изделий, спроектированных до 01.01.80 . 6
Приложение Г. Зависимость параметров шероховатости поверхности от допуска размера . 6
ГОСТ 24071-97
(ИСО 3912-77)
Основные нормы взаимозаменяемости
СЕГМЕНТНЫЕ ШПОНКИ И ШПОНОЧНЫЕ ПАЗЫ
Basic norms of interchangeability.
Woodruff keys and keyways
Дата введения 2000-07-01
1 Назначение
Настоящий стандарт устанавливает размеры и предельные отклонения размеров сегментных шпонок и соответствующих им шпоночных пазов на валу и во втулке, а также устанавливает зависимость между диаметром вала и сечением шпонки, возникающую при передаче крутящего момента и фиксации положения.
Дополнительные требования, отражающие потребности народного хозяйства, приведены в приложениях А, Б, В и Г.
Требования настоящего стандарта и приложения А являются обязательными.
2 Область применения
Настоящий стандарт предназначен для цилиндрических валов и цилиндрических концов валов общего назначения.
3 Размеры и допуски шпонок
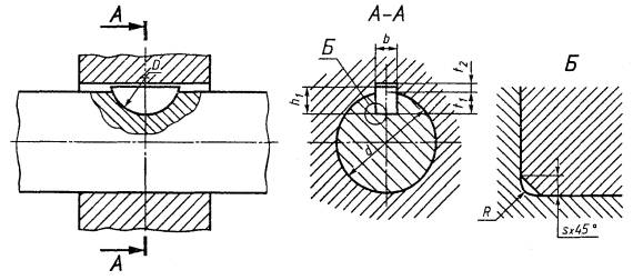
Размеры и предельные отклонения размеров шпонок указаны на рисунке 1 и в таблице 1.

* Применяется по согласованию заинтересованных сторон.
** h 2 = 0,8 h 1 (значение можно округлить до 0,1 мм).
* Другой допуск может быть принят по согласованию заинтересованных сторон.
4 Материал
Материал — сталь с временным сопротивлением разрыву не ниже 590 Н/мм 2 после окончательной обработки (если не будет другой договоренности между заинтересованными сторонами).
5 Форма, размеры и допуски шпоночных пазов
Размеры и допуски шпоночных пазов указаны на рисунке 2 и в таблице 2.

Размеры шпонки нормальной или низкой формы b ´ h 1 ´ D
Вал и втулка Р9
6 Зависимость между диаметром вала и размерами шпонки
В таблице 3 даны две серии взаимосвязи между диаметром вала и размером шпонки: серия 1 — для передачи крутящего момента, серия 2 — для фиксации детали (в случае неподвижной посадки, когда передача момента осуществляется за счет трения).
Таблица 3 — Зависимость диаметра вала от размера шпонки
Диаметр вала d , мм
Размер шпонки, мм, нормальной формы b ´ h 1 ´ D или эквивалентной низкой формы
7 Обозначение
В обозначении шпонки должны указываться ее ширина и высота и обозначение стандарта.
Обозначение шпонки нормальной формы и сечением b ´ h 1 = 5 ´ 6,5 мм:
Обозначение низкой шпонки с сечением b ´ h 2 = 5 ´ 5,2:
ПРИЛОЖЕНИЕ А
Дополнительные требования, отражающие потребности экономики страны
А.1 Стандарт не распространяется на соединения, спроектированные до введения в действие настоящего стандарта, а также на шпоночные соединения, собираемые подгонкой или подбором шпонок.
А.2 Материал шпонок — чистотянутая сталь для сегментных шпонок по ГОСТ 8786-68 или по разделу 4.
A.3 Допускается в технически обоснованных случаях (пустотелые и ступенчатые валы, передача пониженных крутящих моментов и т.п.) применять меньшие, чем указано в таблице 2, размеры сечений шпонок на валах больших диаметров, за исключением выходных концов валов.
А.4 Допускается для неответственных соединений сопряжение дна паза с боковыми стенками выполнять с фаской под углом 45°, равной радиусу R .
А.5 Допускается свободное соединение шпонки с валом и втулкой. Предельные отклонения при свободном соединении ширины паза b должны соответствовать полям допусков для вала — Н9, для втулки — D 10.
А.6 Допускаются для ширины паза b вала и втулки любые сочетания полей допусков, указанные в таблице 2.
А.7 Для термообработанных деталей допускаются предельные отклонения размера ширины паза вала, соответствующие полю допуска Н11, размера ширины паза втулки — D 10.
А.8 Контроль размеров шпоночных пазов и их расположения относительно соответствующих цилиндрических поверхностей — по ГОСТ 24109 — ГОСТ 24111 ; ГОСТ 24115 — ГОСТ 24117 ; ГОСТ 24119 ; ГОСТ 24120 .
А.9 Серия 2 (таблица 3) может применяться также для неответственных соединений (при передаче малых крутящих моментов с небольшой частотой вращения, не влияющих на долговечность деталей; при кратковременной работе соединения и т.д.).
А.10 Допускается в зависимости от принятой базы обработки и измерения указывать вместо t 1 на рабочем чертеже номинальный размер для вала d — t 1 с предельным отклонением для t 1 по таблице 2 и для втулки вместо t 2 размер d — t 2 с предельным отклонением для t 2 по таблице 2.
А.11 Масса шпонок указана в приложении Б.
А.12 Для изделий, спроектированных до 01.01.80, допускаются предельные отклонения размеров шпоночных соединений, приведенные в приложении В.
А.13 Параметры шероховатости поверхности элементов шпоночных соединений приведены в приложении Г.
ПРИЛОЖЕНИЕ Б
Теоретическая масса 1000 шпонок нормальной формы
Чертеж паза по ГОСТ (ЕСКД)
Паз — это узкая и длинная прорезь.
Чертеж паза выполняется на основании ГОСТ 2.109-73 — единая система конструкторской документации (ЕСКД).

Вы можете бесплатно скачать этот простой чертеж для использования в любых целях. Например для размещения на шильдике или наклейке.
Как начертить чертеж:
Начертить чертеж можно как на листе бумаги, так и с использованием специализированных программ. Для выполнения простых эскизных чертежей особых инженерных знаний не требуется.
Эскизный чертеж — это чертеж выполненный «от руки», с соблюдением примерных пропорций изображаемого предмета и содержащий достаточные данные для изготовления изделия.
Конструкторский чертеж со всеми технологическими данными для изготовления может выполнить только квалифицированный инженер.
Для обозначения на чертеже необходимо выполнить следующие операции:
1. Начертить изображение;
2. Проставить размеры (см пример);
3. Указать технические требования к изготовлению (подробнее о технических требованиях читайте ниже в статье).
Чертить удобнее всего на компьютере. В последующем чертеж можно распечатать на бумаге на принтере или плоттере. Есть множество специализированных программ для черчения на компьютере. Как платных, так и бесплатных.
На этом изображении нарисовано как просто и быстро выполняется чертеж с помощью компьютерных программ.
Список программ для черчения на компьютере:
1. КОМПАС-3D;
2. AutoCAD;
3. NanoCAD;
4. FreeCAD;
5. QCAD.
Изучив принципы черчения в одной из программ не сложно перейти на работу в другой программе. Методы черчения в любой программе принципиально не отличаются друг от друга. Можно сказать что они идентичны и отличаются друг от друга только удобством и наличием дополнительных функций.
Технические требования:
Для чертежа необходимо проставить размеры, достаточные для изготовления, предельные отклонения и шероховатость.
В технических требованиях к чертежу следует указать:
1) Способ изготовления и контроля, если они являются единственными, гарантирующими требуемое качество изделия;
2) Указать определенный технологический прием, гарантирующий обеспечение отдельных технических требований к изделию.
Чертёж — это проекционное изображение изделия или его элемента, один из видов конструкторских документов содержащий данные для производства и эксплуатации изделия.
Чертеж это не рисунок. Чертеж выполняется по размерам и в масштабе реального изделия (конструкции) или части изделия. Поэтому для выполнения чертежных работ необходима работа инженера, обладающего достаточным опытом в производстве чертежных работ (впрочем для красивого отображения изделия для буклетов вполне возможно понадобится услуга художника, обладающего художественным взглядом на изделие или его часть).
Чертеж — это конструктивное изображение с необходимой и достаточной информацией о габаритах, методе изготовления и эксплуатации. Представленный на этой странице чертеж вы можете скачать бесплатно.
Рисунок — это художественное изображение на плоскости, созданное средствами графики (кисть, карандаш или специализированная программа).
Чертеж может быть как самостоятельным документом, так и частью изделия (конструкции) и технических требований, относящиеся к поверхностям, обрабатываемым совместно. Указания о совместной обработке помещают на всех чертежах, участвующих в совместной обработке изделий.
Подробнее о чертежах, технических требованиях к оформлению и указанию методов изготовления смотрите в ГОСТ 2.109-73. Перечень стандартов для разработки конструкторской документации смотрите здесь.
Информация для заказа чертежей:
В нашей проектной организации Вы можете заказать чертеж любого изделия (как детали, так и сборки), в составе которого будет чертеж паза, как элемент конструкторской документации изделия в целом. Наши инженеры-конструкторы разработают документацию в минимальные сроки в точном соответствии с Вашим техническим заданием.
9.8. Изображение шпоночных и зубчатых (шлицевых) соединений
Шпоночные соединения
Соединение деталей призматической шпонкой показано на наглядном изображении, приведенном на рис. 9.20, а сборочный чертеж дан на рис. 9.21.

Рис. 9.20. Соединение призматической шпонкой

Рис. 9.21. Чертеж шпоночного соединения
На сборочном чертеже при выполнении продольного разреза шпонка условно показана неразрезанной.
На чертеже показывают небольшой промежуток (зазор) между верхней плоскостью шпонки 2 и дном канавки во втулке 3.
Соединения клиновой и сегментной шпонками мало отличаются от рассмотренного, только при клиновой шпонке зазоры располагаются по бокам, а при сегментной изменяется форма канавки в вале.
Условные обозначения шпонок показаны на следующих примерах.
Шпонка 18×11×100 ГОСТ 23360–78 – это обозначение следует понимать так: шпонка призматическая обыкновенная исполнения 1 (со скругленными торцами); с размерами: ширина b=18 мм, высота h=11 мм, длина l = 100 мм (исполнение 1 в обозначении не указывают).
Обозначение той же шпонки исполнения 2 (с плоскими торцами) – Шпонка 2– 18×11×100 ГОСТ 23360–78.
Обозначение шпонки клиновой исполнения 1 (со скругленными торцами) с размерами: ширина Ь = 18 мм, высота b=11 мм, длина l = 100 мм – Шпонка 18×11×100 ГОСТ 8792-68.
Обозначение шпонки сегментной с размерами: ширина 6 = 6 мм, высота (сегмент) 6 = 100 мм – Шпонка сегм. 6×10 ГОСТ 8795-68.
Размеры шпонок стандартизованы. Стандартизованы, следовательно, форма и размеры шпоночных канавок (пазов) на валу и во втулке. Выбирают эти размеры в зависимости от диаметра вала, входящего в соединение.
В таблицах стандартов для шпонок указаны: диаметр вала D, соответствующие этому диаметру размеры шпонок (ширина 6, высота 6 и глубина шпоночных пазов: t – для вала, t1 – для втулки). Длину шпонки l выбирают в необходимых пределах из таблиц стандартов.
Шлицевые соединения
Зубчатый вал – деталь цилиндрической формы, по наружной поверхности которого равномерно расположены впадины (шлицы). Между впадинами находятся зубья. Зубья входят во впадины насаживаемой детали, образуя зубчатое (шлицевое) соединение.
Профили зубьев и впадин бывают прямобочными, эвольвентными (боковые стороны профиля зуба очерчены эвольвентой) и треугольными.
Согласно ГОСТ 2.409–74 зубчатые поверхности валов и отверстия соединяемых с валами деталей вычерчивают упрощенно.
На рис. 9.22, а показано упрощенное изображение вала с зубчатым участком. Образующие цилиндра впадин должны пересекать линию границы фаски и проходить по ее изображению. При изображении вала в продольном разрезе образующие цилиндра впадин показывают сплошной основной линией, а зубья условно совмещают с плоскостью чертежа и показывают нерассеченными (рис. 9.22, а).
На изображении торца зубчатой части вала показывают профиль только одного зуба и двух впадин; окружность, ограничивающую выступы, изображают сплошной основной линией. Дугу окружности, ограничивающей впадины, изображают сплошной тонкой линией (рис. 9.22, б), фаску на этом виде не показывают. При необходимости допускается изображать большее число зубьев и впадин.

Рис. 9.22. Шлицевые поверхности:
а, б – на стержне, в – в сечении; г, д – в отверстии; е, ж – эвольвентные
В сечениях, перпендикулярных оси зубчатой части вала (рис. 9.22, в), вычерчивают один зуб и две впадины и также проводят дугу окружности впадин.
Если детали, имеющие зубчатые отверстия, вычерчивают в продольном разрезе, впадины условно совмещают с плоскостью чертежа (рис. 9.22, г). На изображении торца зубчатого отверстия показывают профиль одного зуба и двух впадин, дугу окружности впадин проводят сплошной тонкой линией (рис. 9.22, д).
Все рассмотренные выше правила применяют и при изображении деталей зубчатых соединений эвольвентного и треугольного профилей. Чертежи этих деталей дополняют изображениями образующих делительных цилиндров (рис. 9.22, е) и делительных окружностей (рис. 9.22, ж), которые вычерчивают тонкими штрихпунктирными линиями.
Применяют три способа центрирования отверстия детали на валу при зубчатом соединении прямоблочного профиля: по внутреннему диаметру, по наружному диаметру и по боковым сторонам зубьев.
Зубчатые шлицевые соединения можно представить себе как многошпоночные. Пример шлицевого соединения двух деталей показан на рис. 9.23.

Рис. 9.23. Шлицевое соединение
Обозначаются шлицевые соединения на сборочных чертежах следующим образом:
• соединения с числом зубьев z = 8, внутренним диаметром d = 36 мм, наружным диаметром/) = 40 мм, шириной зуба b = = 7 мм, с центрированием по внутреннему диаметру, с посадкой по диаметру центрирования
и по размеру
:

• то же, при центрировании по наружному диаметру с посадкой по диаметру центрирования
и по размеру
:

• то же, при центрировании по боковым сторонам:
1 Назначение
Настоящий стандарт устанавливает размеры и предельные отклонения размеров сегментных шпонок и соответствующих им шпоночных пазов на валу и во втулке, а также устанавливает зависимость между диаметром вала и сечением шпонки, возникающую при передаче крутящего момента и фиксации положения.
Дополнительные требования, отражающие потребности народного хозяйства, приведены в приложениях А, Б, В и Г.
Требования настоящего стандарта и приложения А являются обязательными.
2 Область применения
Настоящий стандарт предназначен для цилиндрических валов и цилиндрических концов валов общего назначения.
3 Размеры и допуски шпонок
Размеры и предельные отклонения размеров шпонок указаны на рисунке 1 и в таблице 1.

* Применяется по согласованию заинтересованных сторон.
** h 2 = 0,8 h 1 (значение можно округлить до 0,1 мм).
* Другой допуск может быть принят по согласованию заинтересованных сторон.
4 Материал
Материал — сталь с временным сопротивлением разрыву не ниже 590 Н/мм 2 после окончательной обработки (если не будет другой договоренности между заинтересованными сторонами).
5 Форма, размеры и допуски шпоночных пазов
Размеры и допуски шпоночных пазов указаны на рисунке 2 и в таблице 2.

Вал и втулка Р9
6 Зависимость между диаметром вала и размерами шпонки
В таблице 3 даны две серии взаимосвязи между диаметром вала и размером шпонки: серия 1 — для передачи крутящего момента, серия 2 — для фиксации детали ( в случае неподвижной посадки, когда передача момента осуществляется за счет трения).
Таблица 3 — Зависимость диаметра вала от размера шпонки
Размер шпонки, мм, нормальной формы b ´ h 1 ´ D или эквивалентной низкой формы
7 Обозначение
В обозначении шпонки должны указываться ее ширина и высота и обозначение стандарта.
Обозначение шпонки нормальной формы и сечением b ´ h 1 = 5 ´ 6,5 мм:
Обозначение низкой шпонки с сечением b ´ h 2 = 5 ´ 5,2:
ПРИЛОЖЕНИЕ А
Дополнительные требования, отражающие потребности экономики страны
A.3 Допускается в технически обоснованных случаях (пустотелые и ступенчатые валы, передача пониженных крутящих моментов и т.п.) применять меньшие, чем указано в таблице 2, размеры сечений шпонок на валах больших диаметров, за исключением выходных концов валов.
А.4 Допускается для неответственных соединений сопряжение дна паза с боковыми стенками выполнять с фаской под углом 45°, равной радиусу R .
А.5 Допускается свободное соединение шпонки с валом и втулкой. Предельные отклонения при свободном соединении ширины паза b должны соответствовать полям допусков для вала — Н9, для втулки — D 10.
А.6 Допускаются для ширины паза b вала и втулки любые сочетания полей допусков, указанные в таблице 2.
А.7 Для термообработанных деталей допускаются предельные отклонения размера ширины паза вала, соответствующие полю допуска Н11, размера ширины паза втулки — D 10.
А.9 Серия 2 (таблица 3) может применяться также для неответственных соединений (при передаче малых крутящих моментов с небольшой частотой вращения, не влияющих на долговечность деталей; при кратковременной работе соединения и т.д.).
А.10 Допускается в зависимости от принятой базы обработки и измерения указывать вместо t 1 на рабочем чертеже номинальный размер для вала d — t 1 с предельным отклонением для t 1 по таблице 2 и для втулки вместо t 2 размер d — t 2 с предельным отклонением для t 2 по таблице 2.
А.11 Масса шпонок указана в приложении Б.
А.12 Для изделий, спроектированных до 01.01.80, допускаются предельные отклонения размеров шпоночных соединений, приведенные в приложении В.
А.13 Параметры шероховатости поверхности элементов шпоночных соединений приведены в приложении Г.

